前段時間我們對循環泵正確安裝示意圖進行了講解,今天我們就來講解水泵的正確安裝方法。水泵安裝前應該做好準備工作,根據圖紙對循環水泵和電機的型號進行核對,查看循環泵各個部件的質量,認證閱讀水泵產品說明書,對施工儀器進行校驗。水泵安裝不當大多數是沒有認真閱讀水泵安裝使用產品說明書,對水泵的安裝具體要求和注意事項不夠了解,對后續水泵的安裝質量產生不利的影響,安裝施工過程中要對水準儀、百分表、內徑千分尺等工具進行校驗,防止出現偏差影響安裝精度。
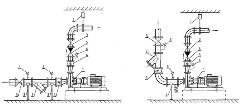
1.泵體的安裝
水泵安裝前要做好準備工作。先對水泵和電機的預留孔進行檢查、清掃和復測工作,把水泵的出水方向軸線與水泵的出水方向垂直軸以及水泵地腳螺栓的縱橫四道中心線放出,接著把水泵出水方向軸線與水泵出水方向垂直軸線用經緯儀打到電機層上,再把電機的中心線放出來。根據工程圖紙要求測量出水泵的高程線。有些施工人員沒有把水泵出水方向的軸線和水泵的地腳螺栓線放出來,使水泵安裝個體發生轉角以及水泵出水管和水泵軸線不垂直,對水泵的安裝美觀造成影響。
水泵90度彎管安裝。泵體彎管吊進泵內就能進行安裝,地腳螺栓穿好,墊上可以調節的墊鐵,根據葉輪中心高度推算處泵體上的軸平面標高,調整水泵泵體的高程到設計高程,再把水泵的中心線和水泵的檢查中心線對上,方可完成水泵的初步就位工作。校正時可以把框平儀放到校準面上,調整墊鐵時可以松緊螺絲,水泡在居中位置即可。再校核水泵的上下軸頸的同心度,在測量部件的的上端用中心架固定好球心器,懸掛好鋼線,下面懸掛一個12kg~15kg的重錘,將重錘侵入裝滿機油的油桶里來尋求穩定,測量前可以把球心器做微量的移動并調整鋼線的位置。用耳機、電池和電測量工具與鋼線串成一個簡單的電流回路,在內徑千分尺的尖端和鋼線接觸時,回路接通后耳機發出細微的聲響,千分尺讀數是該點到垂線的距離,并且在東南西北四個方向做好記錄工作,計算出各個方向垂直同心度的偏差并進行調整,直到在水平偏差在0.8mm/m,垂直同心值在0.2m以內,判為初調合格。接著進行地腳螺栓的澆灌工作,并且達到一定強度后進行精調工作。精調過程中可以調節墊塊,確保水泵的垂直同心值在0.8mm以內,水平偏差值在0.03mm以內,接著把地腳螺栓擰緊,使用混凝土將墊鐵澆注起來。質量問題是球心器的重錘質量太輕容易被風吹影響,重錘沒有放入機油或者較為黏稠的液體中,是重錘出現擺動不能穩定。安裝時只考慮垂直同心度與水平度一項達到要求,沒有使兩項都達到要求。假如沒有調整兩項符合要求則說明水泵同心度沒有符合要求。兩項調整符合要求后再將地腳螺栓旋緊,防止水泵運行后產生振動使水泵中心跑偏,出現卡泵情況。水泵的墊鐵要用高標號混凝土澆注,混凝土面要與泵體的下口齊平并且連接要緊密。
2.水泵管道的安裝
先對水泵出水方向的軸線進行出水管道的定線工作,管道的安裝要從泵體開始進行安裝,安裝前先把管路做好支撐,在各節管法蘭盤之間粘上防水橡膠密封圈,接口使用粘接,接口不應該放在管道的頂部,接著從中心線上吊下鉛垂線,使管子中心和垂線擰緊螺栓對準。緊固螺栓時可以交替進行,避免法蘭盤受力不平衡使管道出現接合不嚴的情況,把彎管、直管、伸縮管和喇叭口安裝好后,可以連接透氣管的工作,然后安裝閥門。
3.軸和葉輪的安裝
先把泵軸吊裝插入泵體軸孔內,在彎管和導葉體上分別安裝軸承座,使用塞規處理軸和橡膠軸承間的間隙,使測量出的間隙應該一致接著用手轉動軸,感覺轉動靈活即可,接著把葉輪裝上,可以用手盤動葉輪并且用塞尺測量,調整葉片外緣和球形體內壁的間隙,使四周均勻并且檢測葉輪的間隙值是否在規定值范圍。用鋼尺檢查葉輪上平面和導葉體輪毅下平面的距離是否與設計要求相符合,不能出現偏在一邊的情況。將傳動軸吊裝插入機座軸孔內,傳動軸下面裝上剛性聯軸器,把螺帽螺栓擰緊,將傳動軸壓入軸承體內,軸承壓蓋螺栓擰緊,查看傳動軸的垂直度,把框平儀放在傳動軸彈性聯軸器平面上進行復驗水平,力求傳動軸在任意轉動部位上框平儀的水泡一直居中,這能說明傳動軸已經處于鉛錘狀態,可以和水泵軸連接。再次查看傳動軸與泵軸的垂直度以及剛性聯軸器的同心度,等到符合要求后可以把對接螺栓擰緊。然后把傳動軸上的圓螺帽進行調節,使葉輪的高程以及葉輪和導葉座的間隙符合設計要求。兩軸的同心度測量能用直尺放于兩個聯軸器的外圓對稱檢查四點,測量直尺與聯軸器外圓間隙,允許偏差不能大于0.1mm,假如超過要進行調整。可以調整電機底座標高或者撬動電機底座,直到符合要求為止。地腳螺栓擰緊并且把聯軸器的立式上好,用百分表工具測量任意對稱四個方向,使軸的擺度在0.04mm以內。質量問題是沒有測量葉輪的高程以及葉輪和導葉座的間隙是否符合設計要求,使葉輪和導葉座的間隙出現過大或者過小,導致水泵不能正常工作。聯軸器的水平沒有檢查會使電機軸與水泵軸不在一條直線上,軸的擺度過大。澆注電機座前沒有用手盤動聯軸器,查看是否轉動靈活。這些都是需要注意的。
4.電機底座的安裝
根據水泵的中心軸線放出電機中心軸線與電機地腳螺栓線,接著根據水泵的安裝基準高程線與水泵軸和電機傳動軸的總長并且結合設計尺寸計算出電機底座的標高。先把電機底座就位后穿好地腳螺栓。把可調墊鐵墊上,用水平儀測量好標高,使用框平儀在軸底座平面上進行找平,采用內徑千分尺校驗其同心度,要求機架安裝的中心排出不能超過規定值范圍內,垂直同心度控制在0.08mm以內,調整完成后可以進行地腳螺栓的澆注工作。地腳螺栓澆注好后并且達到一定強度,可以對電機底座進行精調工作,精調達到標準后,把地腳螺栓分別緊固好,擰緊時要注意對中找平,把地腳螺栓擰緊后在對電機軸進行安裝校正,接著將可調墊鐵進行澆注。質量通病是沒有計算好水泵和電機底座的高度差,這會導致電機安裝過程中聯軸器之間的間距不能達到要求。電機的地腳螺栓沒有放通線會導致電機不在一條線上,二次混凝土澆注不嚴密,墊鐵調整時沒有旋緊,地腳螺栓不垂直導致電機高速運行時產生振動使機座跑偏。
5.檢測和調整
使用水平儀與線墜對水泵的進出口法蘭和底座加工面進行測量和調整,對水泵整體進行精安裝,使安裝的臥式離心泵泵體水平度不大于0.1/1000,立式離心泵垂直高度不應該大于0.1/1000。
水泵和電機使用聯軸器連接時,采用百分表和塞尺等在聯軸器的軸向與徑向進行測量與調整,聯軸器軸向傾斜應該不大于0.8/1000,徑向移位不應該大于0.1mm。
將水泵和電機的同心度進行調整,應該松開聯軸器上的螺栓、水泵和電機以及底座連接的螺栓,使用不同厚度的薄鋼板或者薄鐵皮來調整角位移與徑向位移。輕輕翹起電機或者水泵的某一需要調整的一角,用剪好的薄鐵皮或者薄鋼板墊與螺栓處。
檢測合格后把之前松開的螺栓擰緊即可。
6.潤滑和加油
查看水泵的油杯并且進行加油,盤動聯軸器查看轉動是否靈活有沒有卡頓情況。
水泵的正確安裝方法由水泵廠家總結。


CZW型臥式管道增壓離心泵
FSB型氟塑料合金離心泵
czl系列單級單吸立式管道離心泵
